„Ningbo Richge Technology Co., Ltd.“
„Ningbo Richge Technology Co., Ltd.“
Produktai

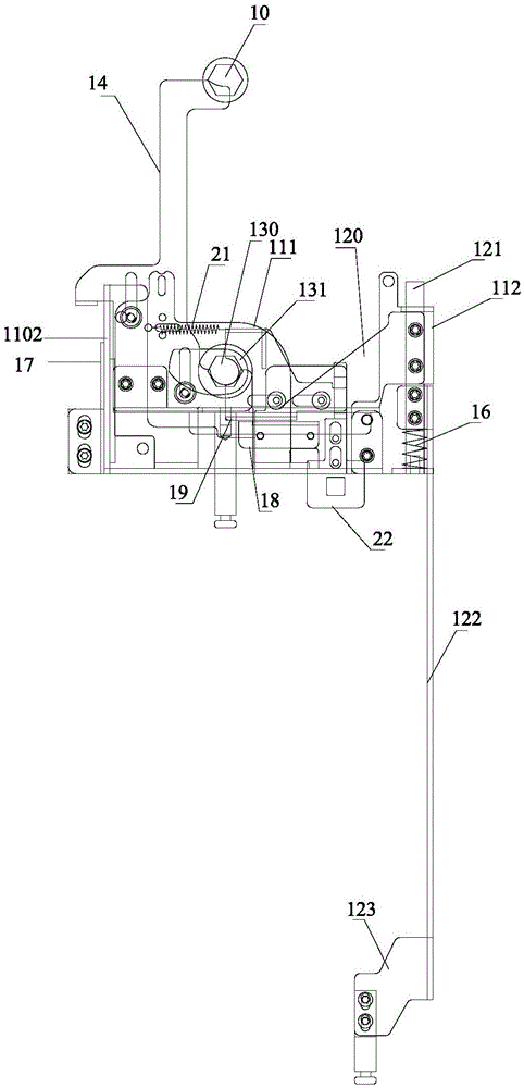
Antžeminio jungiklio veikimo mechanizmo blokavimo įtaisas

Earthing Switch Operating Mechanism Interlocking Device

The earthing switch interlocking device is an important device used to prevent misoperation and ensure the safe operation of the power distribution switchgear.  

Function and effect

Prevent misoperation: Avoid closing or opening the earthing switch at inappropriate times, preventing the earthing switch from being closed when the circuit breaker closed, or the circuit breaker from being closed when the earthing switch is closed, so as to ensure the safety of personnel and equipment.

Ensure the operation sequence: Ensure that the earthing switch and other related equipment (such as circuit breakers, disconnectors, etc.) are operated in a predetermined sequence and comply with the safety operation procedures in power system.


Application scenarios

High-voltage distribution cabinet: In high-voltage power systems, due to the high voltage level and large short-circuit current, the consequences of misoperation are extremely serious. Therefore, the grounding switch operating mechanism interlocking device is an indispensable component of the high-voltage distribution cabinet and is widely used in high-voltage switch cabinets in substations, power plants and other places.

Low-voltage distribution cabinet: In some low-voltage distribution systems with high requirements for power supply reliability and safety, such as hospitals, shopping malls, data centers, etc., grounding switch operating mechanism interlocking devices are also used to prevent power outages and personnel safety issues caused by misoperation.


View as  
 
Antžeminio jungiklio mechanizmas

Antžeminio jungiklio mechanizmas

Antžeminio jungiklio mechanizmas, skirtas skirstomiesiems įrenginiams, yra saugos mechanizmas, skirtas užkirsti kelią atsitiktiniam žemės jungiklio veikimui elektros sistemose, tokiose kaip skirstomieji įrenginiai, transformatoriai ir grandinės pertraukikliai. Tai užtikrina, kad žemės jungiklį galima naudoti tik saugiomis sąlygomis, paprastai kai kiti jungikliai, tokie kaip grandinės pertraukikliai ar izoliatoriai, yra teisingoje padėtyje. Šis blokavimo įtaisas yra labai svarbus siekiant užkirsti kelią įrangos įžeminimui, kol ji vis dar energija, taip sumažinant elektros avarijų riziką ir užtikrinant priežiūros personalo saugumą. Įrenginys paprastai veikia fiziškai užkirsdamas kelią žemės jungiklio veikimui, nebent įvykdytos tam tikros sąlygos, pavyzdžiui, užtikrinant, kad atjungimo jungiklis būtų atidarytas arba kad įranga buvo tinkamai išskirta nuo maitinimo šaltinio. Kai kuriuose dizainuose taip pat gali būti būklės rodikliai ar aliarmai, kurie rodo, ar įžeminimo sąlygos yra saugios. Antžeminio jungiklio blokavimo įtaisas dažniausiai naudojamas pastotėms, elektrinėms ir pramoninėms elektrinėms sistemoms, kuriose yra aukštos įtampos įranga, ir techninės priežiūros darbus reikia atlikti saugiai. Tai padidina operatyvinę saugą, užkertant kelią įžeminimo proceso klaidoms, užtikrinant, kad įranga būtų tinkamai izoliuota ir įžeminta prieš prasidedant darbui. Įrengdamas blokavimo mechanizmus, prietaisas padeda supaprastinti priežiūros procedūras, sumažinti žmogaus klaidas ir pagerinti bendrą elektros sistemos patikimumą.
Žemės jungiklio blokavimo įtaisas

Žemės jungiklio blokavimo įtaisas

„Richge“ yra „Ground Switch Inclock Devicein China“ gamintojas, kurio specializacija yra tikslūs inžinerijos sprendimai, skirti užtikrinti saugų ir patikimą antžeminių jungiklių veikimą skirstomųjų įrenginių sistemose. Mūsų blokavimo mechanizmai yra būtini siekiant padidinti operatyvinę saugą, užkertant kelią neteisėtiems ar neteisingiems perjungimo veiksmams.
Elektrinis blokavimo mechanizmas

Elektrinis blokavimo mechanizmas

Richge yra elektros blokavimo mechanizmų gamintojas Kinijoje, specializuojasi sudėtinguose sprendimuose, skirtuose padidinti elektros sistemų saugumą ir patikimumą. Mūsų elektriniai blokavimo mechanizmai yra sukurti taip, kad būtų užtikrintas tikslus valdymas ir užkirsti kelią neteisėtoms ar nesaugioms operacijoms įvairiose skirstomųjų įrenginių programose.
Elektrinis skirstomųjų įrenginių jungiamasis strypas

Elektrinis skirstomųjų įrenginių jungiamasis strypas

Richge yra elektros skirstomųjų įrenginių jungiamųjų strypų gamintojas Kinijoje, kurio specializacija yra aukštos kokybės komponentai, skirti užtikrinti patikimą ir efektyvų veikimą skirstomųjų įrenginių sistemose. Mūsų jungiamieji strypai yra sukurti taip, kad būtų lengviau ir tiksliai ir tikslias jungtis tarp įvairių skirstomųjų įrenginių komponentų, padidinant bendrą elektros sistemų veikimą ir funkcionalumą.
Skirstomojo įrenginio sujungimo įrenginys

Skirstomojo įrenginio sujungimo įrenginys

Richge yra sujungimo įtaisų, skirtų skirstomiesiems Kinijoje, gamintojas, daugiausia dėmesio skiriant novatoriškų ir patikimų sprendimų kūrimui, kad būtų užtikrintas saugus ir efektyvus elektrinių skirstomųjų įrenginių sistemų veikimas. Mūsų sujungimo mechanizmai yra skirti užkirsti kelią neteisėtoms ar neteisingoms operacijoms, taip padidinant saugos ir veiklos vientisumą.
„Richge“ yra profesionalus Antžeminio jungiklio veikimo mechanizmo blokavimo įtaisas gamintojas ir tiekėjas Kinijoje. Jei jus domina mūsų žemos kainos produktai, susisiekite su mumis.
X
We use cookies to offer you a better browsing experience, analyze site traffic and personalize content. By using this site, you agree to our use of cookies. Privacy Policy
Reject Accept